|
|
|
|
|
|
華納云hncloud最近上線了新加坡系列服務器,位于新加坡SG1機房,CN2 GIA三網直連帶寬。很多網友對此充滿期待,欲求一機。那么華納云新加坡服務器的性能表現怎樣呢?我們將對其進行一系列的測評。
測試機器基本信息
先一起看本地Ping的延遲效果,如下所示:

Ping延遲在101ms左右,網絡是相當穩定的,沒有丟包的情況。
然后我們看看全國三網Ping的延遲效果,如下所示:

全國三網Ping延遲在90ms左右,其中移動網絡延遲是最低的在74ms左右,其次是電信網絡延遲在81ms左右,最后是聯通網絡延遲在86ms左右。
整體來說,三網延遲都比較令人滿意的,很少有新加坡服務器能夠達到這個延遲效果的。
接下來我們路由追蹤看看這款新加坡服務器去程、回程路由情況怎么樣。
電信去程路由:

可以看到電信去程路由是經過香港節點后直連新加坡機房,并且走的是59.43的CN2線路。
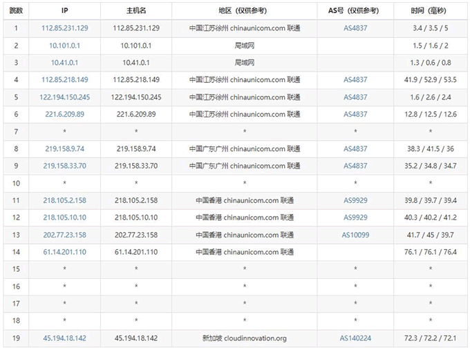
聯通去程路由:

聯通去程路由也是經過香港節點后直連新加坡機房,并且走的是AS4837線路,然后轉AS9929線路。
移動去程路由:
移動去程路由則似乎更好一些,直接從內地直連新加坡機房。這種線路確實是非常難得的。
接下來我們將看看三網的回程路由情況。
電信網絡回程路由:

可以看到電信回程經過香港節點,并且回程也是走了59.43的CN2線路。
聯通網絡回程路由:

聯通網絡回程路由經過香港節點,然后直連內地。
移動網絡回程路由:

移動網絡回程則直連的,中間并沒有經過任何節點,所以移動網絡延遲才會是最低的。
接下來我們看看服務器的性能和下載速度怎么樣,如下所示:

可以看到磁盤I/O在215MB/秒左右,這個性能還是不錯的,只有SSD固態才能達到這樣的水平。
全球各地上傳速度都跑滿了10Mbps,下載速度跑滿20Mbps。
從結果來看,性價比還是相當不錯的,提供了3個IP、無限流量,比同行業中很多家新加坡服務器都要劃算。
我們可以通過《#華納云#新加坡(獨立/云/高防)服務器,CN2三網直連,支持免費壓測》一文了解華納云的更多產品信息,包括獨立服務器、高防服務器、云服務器的價格及優惠信息,另外還有測試IP、付款方式等資訊。
相關文章
