|
|
|
|
|
|
本文我們將通過實體機具體測評華納云的香港站群服務器的網絡、性能各方面效果。
香港站群-A型:
Ping延遲
先看看我本地網絡的Ping延遲效果,如下所示:

可以看到我本地Ping的延遲在53ms左右,這個延遲對于香港機房來說還是相當不錯的,如果你在東南地區,那么這個延遲還會更低。可以看到網絡是相當穩定的,基本都沒有丟包的情況。
當然我本地的網絡狀況不能代表大多數的用戶,所以我通過第三方工具(如卡卡網的Ping測試)看看電信、聯通、移動網絡在全國各地訪問的延遲情況,如下所示:

從上面工具的測試可以知道,全國Ping的平均延遲在35ms左右,比我本地要低很多。其中電信和聯通網絡都差不多在35ms左右,移動網絡稍微高點在47ms左右,總體來說三網延遲都很低。
穩定性測試
我們再通過工具測試下華納云的這款香港站群服務器在全球各地(包括中國大陸地區)的穩定性情況,如下所示:
可以看到全球各地的穩定性都是相當不錯的,基本都沒有丟包的情況,在中國臺灣、深圳、廣州、杭州、青島、北京等地延遲也是很低,并且網絡都很穩定,丟包率都是0%,Ping幾十下也是沒有丟包的。
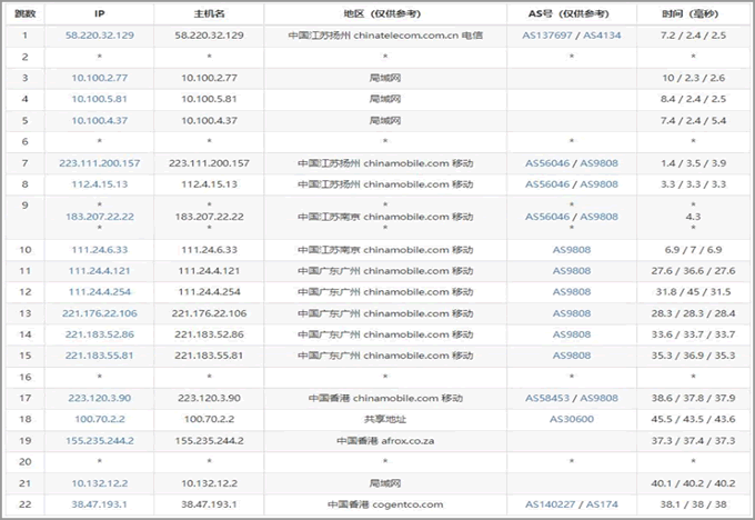
路由追蹤
測試完了網絡穩定性情況,我們再測試下這款香港站群服務器的去程和回程路由情況。
路由追蹤可以使用卡卡網的路由追蹤工具,一次性選擇多個節點測試。

電信去程路由是從北京網口出去(如果你是南方地區可能是從上海網口或者廣州網口出去),然后直連香港機房,并且走的是59.43的CN2 GIA線路。
聯通去程路由是從廣州網口出去,直連香港機房,走的是AS4837聯通優化線路。
移動去程路由和聯通網絡一樣,是從廣州網口出去后直連香港機房,走AS9808線路。
然后我們再看看三網的回程路由線路。
電信回程路由是從北京、上海、廣州三個網口入境,然后線路直連,并且走的是59.43的CN2 GIA線路,所以確實是雙向CN2 GIA線路。
聯通回程路由從廣州、上海網口入境,直連內地網絡,走的是AS4837聯通優化線路。
移動回程路由是從北京、上海、廣州網口入境,直連內地網絡,走AS9808線路。
綜合來說三網都是直連線路,電信雙向CN2 GIA線路、聯通雙向AS4837線路、移動雙向AS9808線路,網絡狀況可以說是相當不錯。
服務器的性能和上傳下載速度
下面我們再看看華納云這款香港站群服務器的性能和上傳下載速度怎么樣,如下所示:

可以看到這款香港站群服務器采用E5-2660處理器,主頻2.2GHz,磁盤I/O在384MB/秒,性能是相當可以的。
國內和全球各地上傳和下載速度都跑滿了10Mbps,因為我這個服務器選擇的是10Mbps的帶寬,所以最大帶寬是跑滿了的,你可以自定義選擇需要的帶寬。
總結
以上就是關于華納云香港站群服務器的相關測評介紹。整體來說這款香港站群服務器從延遲、穩定性、路由、速度、性能等各方面來講都是相當不錯的,對于需要香港站群服務器的用戶來說可以考慮一下。
華納云簡介
華納云,成立于2015年,作為7年知名IDC服務商,致力于提供香港及海外的云服務器、物理服務器、高防服務器以及高防ip等優質產品與服務。自營香港/美國/新加坡T3+數據中心,機房常駐7*24小時技術團隊,BGP國際多線+CN2網絡線路,智能切換路由,高速訪問全球,如今超過12300+企業正在使用華納云服務器,行業內好評如潮!
相關文章
